Apple 迄今为止的 USB-C 充电头

前段时间测试 40w,顺手摆一起拍个照 :troll:

按照功率大小:

按照体积大小:

标牌部分:

60w 以上的,可以明显看到 87w 用的是金属口,可惜就这一个头用的金属口:

最小的那个其实是 70w 的最新款,因为使用了 GaN 元器件,体积缩小不少:

小功率的排一起,你会发现苹果有一种莫名其妙的强迫症:

它只做 60w 以上和 40w 以下的规格,中间的不做,而且 Size 也比较迷,例如 87w 和 96w 大小其实一样,61w 和 67w 也是一样,后者都是前者的功率升级版。

类似的 29,30,35 体积一样大,18 和 20 一样大

目前苹果带 GaN 的 5 个头,体积稍稍小巧一点:

140w,70w,两个 35w,以及最新的 40-60w

所有这些充电头里面,我个人最喜欢的是这个 29w:

第一眼看上去跟 30w 差不多,但是如果你换个角度看,能看出区别吗:

你可以想想它是怎么制造的 :troll:

你猜对了吗?

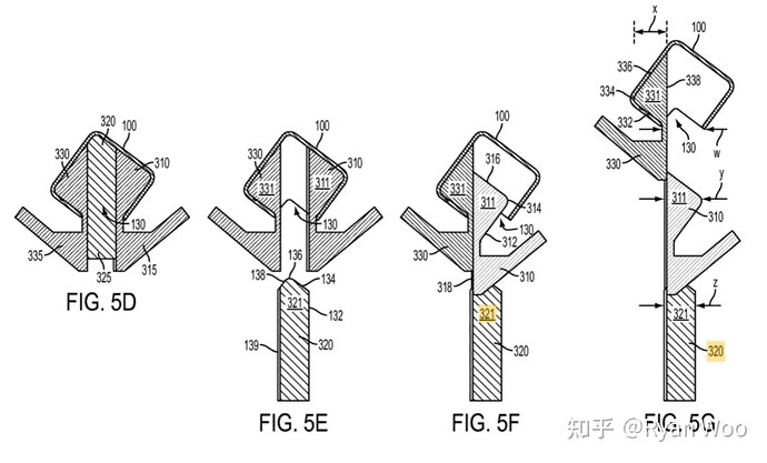
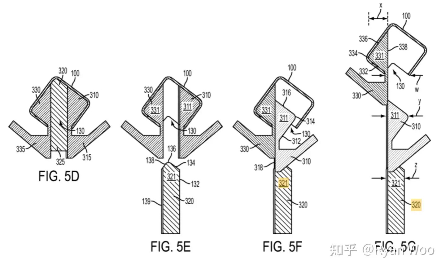
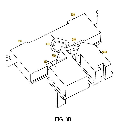
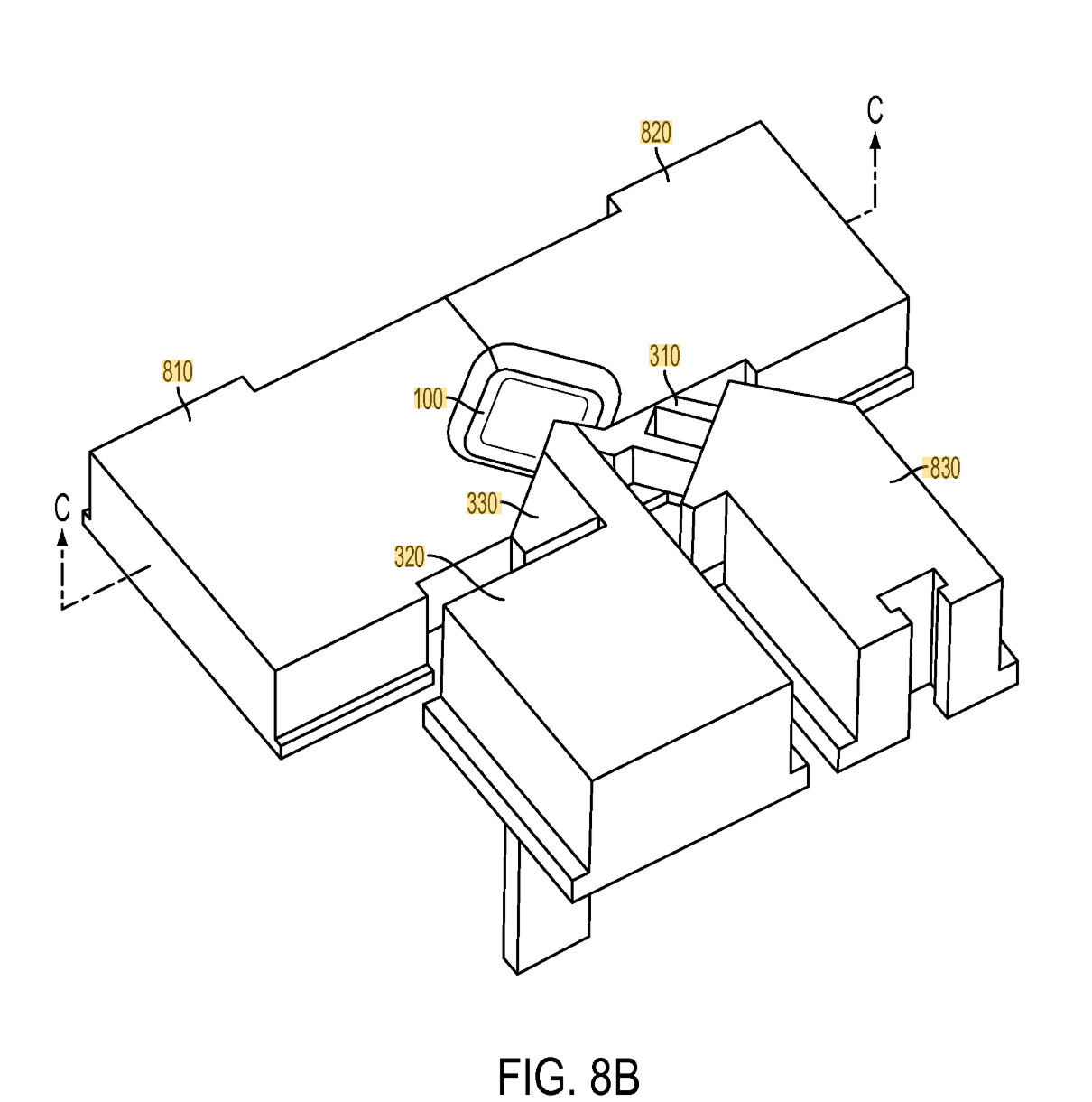
苹果丧心病狂的从一块塑料里面切削出外壳 :troll:

最后把电子元器件填充进去再翻转

专利:US9694526B2 - Injection mold with multi-axial core inserts - Google Patents?

对于 Apple 的充电头,我个人评价是 —— 不要买,因为大部分性价比很一般甚至很差,规格仅支持 USB PD,导致第三方设备兼容性很一般。

除非:

  1. 你对原厂充电头有执念
  2. 你对温度控制有执念
  3. 你的设备基本是苹果全家桶
  4. 你需要插线接地,避免 MacBook 漏电酥麻感

如果需要功率够大并且接地,70w 的就非常好用了,再去网上找个 3 头延长线(下图仅示意,别去花这个价格单买):

对大部分人,我个人推荐最新的 40-60w 给笔记本和 iPad:

手机的话,虽然最新款的 40w 也行,但是如果觉得 40w 这款过于占用插座,也可以考虑竖直 35w 双口那款,最近 Amazon 正在打折 $29:

这种大平头的好处是体积相对小巧,但是非常占插座:

换成竖直版,插座兼容性会好得多:

另外这个苹果充电头的假货颇多,所以最好从正规渠道找;对自己眼睛有信心的可以看 eBay,因为大部分都是拆机货,所以价格非常便宜。

其余的款式就不怎么推荐了,不如买 Costco $30 Anker Bundle 性价比高,或者买苹果笔记本啥的随机送:

55 个赞

:troll: 军火库展示

5 个赞

秦皇的棺材板压不住了

2 个赞

摆放极度舒适

2 个赞

以后我评测 Macbook 啥的,打算放这样一张图,显得专业 :yaoming:

4 个赞

@jnnksn 你收集全了没 :troll:

xhs什么时候能刷到 :troll:

两三套吧

不是哥们

这是中登癖好吗

这么多收集

你看楼主另外一个测试anker充电器的帖子,可以说非常专业了

2 个赞

如果回国的话也可以顺带考虑一下酷态科,推荐(我自己都有)

  • 30w
  • 15号 140W
  • 10号 SE 120W
  • 磁吸线
网上偷的图

30w


10号se和15号

10号se

1 个赞

下次可以带上重量嘛

比起体积更在于重量。反正都是放包里。

长知识了,第一次知道iPad带的那种充电头有18W和20W之分

早年是 18w,后来换成 20w 了

其实也说明 Apple 自己缺乏清晰规划,重复翻新,我上面列到的几个充电器都有明显的升级路线。

2 个赞

充电器太多了,太多牌子用不到了 :troll:

给大佬跪了 说说这两张图摆弄了多久 简直强迫症福音

1 个赞

lz是真的geek

1 个赞

哈哈哈哈哈lz太强了,这都能收集全,是果家员工吗?

1 个赞

哥不考虑拍个评测视频发YouTube么

随手摆的 :yaoming: